编辑导语:作为产品工作的基础,需求贯穿了产品的始终,对于不同的类型的需求,要采取不同的应对策略。本文作者围绕需求,对B端需求管理方法进行了总结,感兴趣的小伙伴们一起来看一下吧。

需求是产品工作的基础,许多从业者就是从此入门。需求贯穿产品工作的始终,从业务的需求开始,到最后转换成prd的技术开发需求,中间对需求的加工处理,都是对需求的深化。本文围绕需求,展开阐述。
一、需求来源
需求的来源有多种多样,多方需求共同汇集形成需求清单,下面对需求来源进行分析。
1)用户诉求
泛指终端用户的需求,如果为C端产品,那么用户所反馈的诉求就是需求。如果为B端产品,那么就需要注意,使用产品的人可能会多种多样,如B端员工、管理层等,也可能会有B端所服务的C所反馈的内容,但需要注意的是,B端反馈口可能会企业内信息化部门进行统一汇总收集。
2)一线部门
一线部门承担着对客服务的职能,如客户团队、销售团队、交付团队、售后团队等,必然在服务中收集了大量的对客服务的情况,能结合当前现状提出针对性优化建议。
需注意的是,他们可能从自身角度出发,会受到自己岗位的限制。
3)领导需求
领导需求可能是日常工作中大家最为伤脑的情况了,可能很多时候就寥寥几句话,但优先级又很高。
一般领导需求,可以理解为商业需求,即领导从公司发展现状出发,分析从市场布局或卡位角度出发,需要拓展哪些能力,或者融资角度出发需要做哪些调整。
还有一种可能,某个大领导与领导打招呼,即政治任务。
4)产品部门
此类需求,主要能体现产品的价值,需要从用户场景与业务现状分析,结合市场调研判断,得出高需求价值。
如果只是单纯得承接业务部门提出的需求,不能自我分析得出有效需求,那么只能作为功能性产品经理,即无法利用自己有效的产品专长,为企业带来更大的价值。
5)技术部门
此类需求来源也不可小视,一般为技术部门从性能、代码维护等角度出发,提出的代码调优需求,只需要记录并按计划放入迭代表中即可。
二、需求管理
需求的来源多种多样,为有效管理需求,我们需要有正确的管理方式,同时不同类型的需求我们需要有不同的应对策略,下面进行阐述。
1. 需求池管理
不同需求进行汇集后,需进行统一管控,可以统一维护、统一跟进、统一跟踪,相关联需求合并处理,可以对需求进行生命周期管理,一般主要是使用表格进行维护,如下表:
表中举例字段为笔者认为的常规字段,各位读者可自行增减,各字段解释如下:
- 需求名称:对反馈需求简单描述后的抽象总结,如工单增加时间筛选项(需求定义)
- 需求描述:主要描述使用方在什么场景下进行什么操作会出现什么问题,描述业务流程是怎么样的(业务场景)
- 反馈来源:主要记录判断上述来源分类
- 反馈人:主要记录来源人员,用户后续深入分析时进行再次沟通与反馈
- 反馈时间:及时记录反馈时间,反馈需求后不可拖延太久
- 状态:一般为待判断、判断中、已驳回、处理中、已处理
- 跟进人:内部谁在处理,作为持续跟进的责任人
- 处理意见:可内部判断后作为反馈意见同步到反馈人,一般反馈如下:之前已有反馈、反馈已收到近期处理、反馈建议不合理并附上原因,其中不合理的情况下,可能存在当前不合理但随情况变化合理的情况
本表主要记录用户原始需求,力求还原用户在不同业务下的使用场景,主要为业务问题(或诉求)描述,避免记录为业务提出的修改建议。其中,字段过少不足以完整表达需求本身以及管理过程,过多则不容易维护,以及容易与其他管理表格含义冲突,如需求研发跟踪表。
2. 维护机制
放入需求池中的需求,需定期进行维护,避免出现有收集无反馈的情况,一般来讲主要有如下措施:
- 设定专人查看维护表格,并及时更新
- 定期进行查看,如每周一,进行查看,及时校对更新
- 临时抽查,管理者应临时抽查结果,来驱动定期维护
3. 工具
如果使用表格记录维护的话,可能随历史变化推移,积累量过大不便于处理的情况,故建议采用线上工具进行维护使用。
三、需求价值
不同来源的需求,在需求池中进行统一维护后,需进行价值判断,维护优先级。可以按照需求分析、定量判断、定优先级、执行方案等步骤对需求进行判断。
1. 需求分析
在接到需求后,主要对需求进行分析,主要判断其真伪,判断其价值。可以思考什么人在什么场景下,因为什么目的会干什么事,判断其是真实存在的情况,即有价值的。
此处可以采用5W2H法来分析:
- WHAT——是什么?目的是什么?做什么工作?
- WHY——为什么要做?可不可以不做?有没有替代方案?
- WHO——谁?由谁来做?
- WHEN——何时?什么时间做?什么时机最适宜?
- WHERE——何处?在哪里做?
- HOW ——怎么做?如何提高效率?如何实施?方法是什么?
- HOW MUCH——多少?做到什么程度?数量如何?质量水平如何?费用产出如何?
首要判断是否有价值。
2. 定量判断
在需求定性分析后,我们基本锁定了有价值的需求,但价值大小还是需要判断的。因此可以采用多维分析法进行计算。
首先我们定义多个维度,针对B端需求,可以采用如用户愿意付费程度、用户的痛苦程度、受众人群的大小等来进行判断,甚至为了考虑成本,可以加入实现难易程度。
对多个需求进行多个维度比较打分后,可以进行加减乘除等计算,得到判断值,用来进行定量分析,甚至结合公司的战略方向,可以对考虑维度进行加权计算后再进行定量分析。
名称解释:用户愿意付费程度(用户对于此服务和方案的付费意愿程度高,说明该市场将更加广阔)、用户的痛苦程度(用户对于此问题痛苦程度高,没有这个东西很不方便,说明是用户的刚需)、受众人群的大小(用户或受众规模越大,说明卖出去的量会更大)。
3. 定优先级
在定量分析后,我们找出了高价值度的需求,可一个需求在落地是会拆解出多个小需求来进行实现,那么我们如何对其进行判断优先级呢?我们可以采用KANO分析法。

- 必备属性:也称为基本型需求,是对企业提供的产品或服务的基本要求。有它不会对用户产生很大的吸引力,但没有它,用户将超级不满。
- 期望属性:是指顾客的满意状况与需求的满足程度成正相关关系的需求,此类需求得到满足的话用户满意度会显著增加,此类需求得不到满足或表现不好的话,用户的不满也会显著增加。
- 魅力属性:也叫兴奋需求,随着用户期望程度的增加用户满意度会急剧上升,但表现不完善,也不会有较大损伤。
- 无差异属性:无论提供与否,对用户体验无影响。
- 反向属性:又称逆向型需求,有他反而降低了用户的满意度。
所以可以排序为:必备属性>期望属性>魅力属性>无差异属性>反向属性,当然如果为无差异或反向的话,基本可以排除不做了。
4. 执行方案
不同产品线下,不同类型的需求,甚至同一产品下不同的模块,为了价值最大化,其采用的应对策略是不同的。那么可以采用波士顿矩阵来进行判断。

1)明星产品(stars)
它是指处于高增长率、高市场占有率象限内的产品群,这类产品可能成为企业的现金牛产品,需要加大投资以支持其迅速发展。
采用的发展战略是:积极扩大经济规模和市场机会,以长远利益为目标,提高市场占有率,加强竞争地位。发展战略以及明星产品的管理与组织最好采用事业部形式,由对生产技术和销售两方面都很内行的经营者负责。
2)现金牛产品(cash cow)
它是指处于低增长率、高市场占有率象限内的产品群,已进入成熟期。
其财务特点是销售量大,产品利润率高、负债比率低,可以为企业提供资金,而且由于增长率低,也无需增大投资。因而成为企业回收资金,支持其它产品,尤其明星产品投资的后盾。
- 把设备投资和其它投资尽量压缩
- 采用榨油式方法,争取在短时间内获取更多利润,为其它产品提供资金
对于这一象限内的销售增长率仍有所增长的产品,应进一步进行市场细分,维持现存市场增长率或延缓其下降速度。对于现金牛产品,适合于用事业部制进行管理,其经营者最好是市场营销型人物。
3)问题产品(question marks)
它是处于高增长率、低市场占有率象限内的产品群。
前者说明市场机会大,前景好,而后者则说明在市场营销上存在问题。其财务特点是利润率较低,所需资金不足,负债比率高。
例如在产品生命周期中处于引进期、因种种原因未能开拓市场局面的新产品即属此类问题的产品。对问题产品应采取选择性投资战略。
因此,对问题产品的改进与扶持方案一般均列入企业长期计划中;对问题产品的管理组织,最好是采取智囊团或项目组织等形式,选拔有规划能力,敢于冒风险、有才干的人负责。
4)瘦狗产品(dogs)
它是处在低增长率、低市场占有率象限内的产品群。其财务特点是利润率低、处于保本或亏损状态,负债比率高,无法为企业带来收益。
对这类产品应采用撤退战略:首先应减少批量,逐渐撤退,对那些销售增长率和市场占有率均极低的产品应立即淘汰;其次是将剩余资源向其它产品转移;第三是整顿产品系列,最好将瘦狗产品与其它事业部合并,统一管理。
注:上述解释来源于百度百科。
针对不同的产品类型,我们应采用不同的方式来符合产品策略。
最后,如果需求是合同内规定的话,那么就可以跳过这些分析,按照合同办事即可。
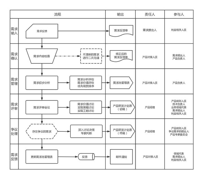
四、总体流程
上述对需求进行了总体概述,大多数方法主要融汇在流程图中,汇总如下:

上述是笔者对需求管理中的经验概述,希望能对此时在阅读的你带来帮助。也希望能与各位多多交流~
本文由 @王常耑 原创发布于人人都是产品经理。未经许可,禁止转载
题图来自Unsplash,基于CC0协议
创业项目群,学习操作 18个小项目,添加 微信:923199819 备注:小项目!
如若转载,请注明出处:https://www.zodoho.com/22849.html
