
图片来源@视觉中国
文|连线出行,作者|周雄飞
货拉拉,依旧处于风暴之中。
从上月中旬开始,不少货拉拉司机在一些短视频平台上发布视频,内容是不满货拉拉平台推出微面车型订单业务、调整会员费和信息费收取标准等,并喊出了停运和罢工的口号。
这类视频发布后,引起了众多货拉拉司机的共鸣和响应。上月下旬,广州、浙江等地的货拉拉司机纷纷停止接单、选择罢工,以表明对货拉拉制定和修改费用规则的抗议。
据连线出行获悉,货拉拉司机们对其平台的停运抗议还在进行着。据一些司机反映,很多货拉拉司机目前已经停止接单,甚至直接退出货拉拉平台,回家休息或加入其他平台。
货拉拉会成为司机们群起而攻之的对象,并不令人意外。
自2013年起,以货拉拉为代表的同城货运行业兴起后,吸引了很多司机加入这个行业。他们成为货拉拉等平台的主要运力后,也期望获得稳定的收入。
但加入货拉拉的司机却发现,自己想要依靠这份工作来赚钱并不容易。因为在货拉拉平台上想要接单,就需要向平台缴纳一定的会员费用,以获得成功接单和接单不受限制等保证。
向平台交钱的同时,这些司机也无法在接单中赚到钱。一些司机对连线出行表示,在货拉拉平台上完成一单后,平台就会以信息费的名义,从订单总费用中抽走一定比例的费用,同时还会拖欠部分司机的订单费,以至于最终到司机端手中的钱少之又少。
反观货拉拉,向司机收取会员费用和从订单中抽佣等手段,正是其主要的盈利模式。
针对货拉拉出现的这些乱象,司机们向其投诉和抗议过、监管部门也点名批评过,但事实证明货拉拉不仅没有改善,反而变本加厉,以至于形成目前“竭泽而渔”的现象,司机们会罢工自然正常。
像货拉拉这样的乱象,其实是同城货运行业的一个缩影。今年6月,快狗打车登陆港交所,从上市招股书中可以看到,快狗打车对于司机端的抽佣从2018年-2020年是逐年提高的,同样让司机们叫苦连连。
如今,货拉拉平台与司机们已经站到了对立面上,如何解决好与司机们的矛盾,成为货拉拉必须思考的问题。
拖欠、压价、抽佣,货拉拉司机日子难过
“日子真的感觉过不下去了”。
当被问到这两个月的感受时,经常在北京开货拉拉的陈兵无奈地对连线出行说道。在他看来,最近这几个月由于天气转冷和疫情影响,能接到的订单明显减少,而就在这样的现状下,货拉拉还在进一步压低司机们的收入。
对于陈兵来说,目前他就想拿到被货拉拉恶意拖欠的订单费用。“从今年1月开始,货拉拉已经连续拖欠了我7-8单的订单费用,比如其中有一单选择的是货到付款,但订单已完成很久了这笔钱还没有给我。”
针对这些问题,陈兵曾找过货拉拉客服反映,得到的反馈不仅非常强硬,并且没有任何解释和原因,只是让他继续等着。
像这样被拖欠订单费用的事件,一直跑江浙沪货拉拉的刘明也遇到过,据他介绍,被货拉拉拖欠的订单数也有2-3单,费用达到了1000元左右。而除此之外,货拉拉在订单上压低司机费用的方式,也包括不允许司机索要行程内的额外费用。
简单说,当货拉拉的用户下了一个订单、有司机接单后,系统会产生一个预估的订单价格,正常情况下,当行程中不得不绕路、遇到高速收费站和需要停车等因素后,就会产生订单的额外费用,此时司机与用户商量后可以让后者给前者补足这些费用,对此货拉拉官方也在APP中写明了这一收费规则。

货拉拉对于额外费用的说明,截图自货拉拉APP
但实际上,据刘明和陈兵等一些司机表示,货拉拉是严禁司机向下单用户索要这些额外费用的,即便司机与用户能达成一致,货拉拉系统在之后也会向司机端给出惩罚,扣除一定的行为分(每位司机行为分满分100分)。
当行为分扣除后,对于该位司机之后的接单就会造成一定影响,比如在短时间内无法接到订单,甚至一天就无法工作。“如果是司机的错,惩罚机制是有必要的;但辛辛苦苦做了一单,然后遇到这样的不合理惩罚,有几个人能接受?”刘明这样对连线出行表示。
如果说拖欠订单费用和无法拿到订单外额外费用,是陈兵和刘明等部分货拉拉司机遭遇的个别事件,那么货拉拉还在进一步、通过更多的方式压低货拉拉司机的收入。
这其中,压低司机端收入最明显的手段,就是货拉拉在今年6月推出的多因素订单。所谓多因素订单,是以里程计费为基础,并结合路况,路程远近和天气等多因素,综合动态调整订单的价格。
这一订单类型看似考虑周全和为司机着想,但实际上却让货拉拉司机们的收入大幅降低。
“比如从北京北四环到顺义区,正常的订单结算费用会在500元左右,但如果是多因素订单,这个费用最后就变成了370元左右,算下来就等于在正常订单价格上打了7折,很多司机自然不会答应。”陈兵这样解释道。
据连线出行获悉,货拉拉在今年6月推出多因素订单后,当时还只是少量,比如司机接10单中,会有1-2单多因素订单。到了今年10-11月,多因素订单的数量大幅上涨,甚至一些司机接到的订单中每单都是多因素订单。
“一单少100多块,一天接十单多因素订单就少1000多块,这对于跑货拉拉的司机来说,是无法接受的。”陈兵说道。正因如此,才让众多货拉拉司机在上月选择用罢工和停运来对此抗议。

货拉拉的多因素订单,图源受访者
事实证明,这样的抗议是“治标不治本”。按照陈兵表示,在停运和罢工事件后,货拉拉降低了司机端接到多因素订单的数量,但并没有让货拉拉取消这个订单模式,10单中还是会有3-4单多因素订单。“等最近的风波过去后,感觉货拉拉会增加多因素订单的量。”
除了推出多因素订单之外,货拉拉也在通过推出会员费和微面车型等方式,来榨取司机们原本就不多的收入。
要说明这点,就需要提到货拉拉推出的会员机制。在2016年之前,货拉拉对于平台内的司机一直以“信息费”的名义,从司机们的每一个订单中抽取一定比例的佣金。
直到2016年7月,货拉拉推出了“会员费+信息费”的新模式,按照货拉拉当时的介绍,如果司机成为货拉拉的会员后,就可以免除系统抽取信息费,以便保证可以拿到更多的收入。
这一新模式实施后,购买会员的司机确实免除了支付信息费的过程,但好景不长,货拉拉之后多次对会员费涨价,到了2021年9月,货拉拉则更新了这一会员机制,不仅引入了白银、黄金和钻石三个档位,同时也有司机发现即便办理了会员,信息费也会在订单中抽走。
按照陈兵介绍,会员费用以白银、黄金和钻石三个档位升级,需要支付的费用也随之递增,钻石最多为529.3元。买了钻石会员后,佣金抽取比例为5%,随着档位的降低,抽成比例随之升高,如果是白银和黄金等级,佣金抽取比例则提高至11%和8%。
假如不买会员,抽佣比例不仅会上涨至18%-20%左右,同时也会减少订单的接单成功率。换算下来,比如一个订单为100元,货拉拉就会抽走18-20元。
与此同时,货拉拉也在接单车型上“做手脚”。据货拉拉司机孙涛介绍,今年年初货拉拉在接单车型中增加了微面车型这一选项,与小面、中面等车型不同,消费者如果选择微面拉货,花的钱就会更少。
但这一操作却苦了诸多开大车的司机们。“微面车型推出后,接单页面上大多就是这一车型的订单,因为消费者肯定会选择价格底的订单,导致很多开大车的司机接不到单,或者为了收入只能接微面的单,但最后到手的钱就会很少。”孙涛这样说道。
对于货拉拉以上压低司机收入的手段,司机们早已开始抱怨和质疑。
在网传的一张名为“货拉拉司机的诉求”照片中,可以看到“多因素订单克扣订单费用”和“会员费用交了,还抽取信息费”两大现象被摆在司机们诉求的前两位。
这之外,比如货拉拉推出微面车型、特惠顺路单、议价订单和系统不对订单进行审核等不合理操作,在这份诉求中也都有写明。
货拉拉通过这些手段来压低和拖欠司机们的收入,也暴露出了它本身的困境。
野蛮生长后,满身疮痍
回看货拉拉的发展,可谓是一个飞速的进程。
2013年,毕业于斯坦福大学的周胜馥,拿着在澳门赌场赢来的“第一桶金”,于香港创办了货拉拉,并在次年进入国内市场,主打同城物流服务,以平台模式撮合同城货运的需求方和服务方。
货拉拉进入国内市场之初,就发现在同城货运这个赛道上,除了它之外还有58速运、一号货车等玩家,为了与这些玩家竞争,并且取得优势,货拉拉就需要以更快的速度扩张。
“互联网速度是很重要的,快是很重要的,有些东西你过了那个窗口期,你再做就没用了。”周胜馥曾这样公开表示。
以至于在过程上,货拉拉想尽办法。
据创业邦报道,货拉拉当时发现开货车的司机大多是男性,为了吸引更多司机的关注和注册平台,特意找来了许多年轻漂亮的女性地推员来做线下推广;拉来司机成功注册平台后,货拉拉内部的一些高管亲自下场,比如负责产品研发的产品总监则会时不时与货拉拉司机们吃大排档,以便拉近与司机师傅们的关系。
当然,这些手段除了货拉拉会用,其他平台同样也会使用。为了在短时间内抢来更多的司机资源,货拉拉也在进入平台的“门槛”上放水。
据财经杂志报道,货拉拉对于司机的审核认证过程较为简单,司机只需要提供身份证、驾驶证和行驶证三证,这三个证件都不需要原件,复印件有时就可以通过审核。
另外,如果是拥有货厢长度超过5米以上车辆的驾驶员,如果要注册货运平台来参与运营,就需要提供道路运输经营许可证和从业资格证。但货拉拉对此审核上,如果司机在这两个证件上存在提交不全的情况,也被平台允许上路运营。
而在货拉拉对于司机上路运营前的培训上,也是比较简单,时长不会超过一个小时。内容主要是教司机怎么使用自家软件、如何抢单等运营问题,涉及安全培训知识比较少,司机们当天注册,交完押金就可以立马上路运营。
相比于对于审核的放水,货拉拉在车贴上的审核却严谨许多。据了解,司机如果要在货拉拉平台上拉货,就需要贴上“货拉拉”字样的车贴,如果不贴或者有破损,货拉拉就会对司机罚款。
据刘明透露,货拉拉为了让自身品牌得到扩散、以及打消司机们“贴车贴会被交警罚款”的忧虑,特意把车贴大小做成符合交规要求规格。
事实证明,在这样一系列的操作下,货拉拉确实实现了快速成为行业第一的目标。去年3月,货拉拉官方披露,其业务覆盖中国363座城市,月活用户达760万,月活司机为58万。
而在快狗打车的招股书中,也可以看到货拉拉已爬上了同城货运第一的位置。数据显示,2021年同城货运赛道上,货拉拉以52.8%的市场份额排在行业首位,滴滴货运和快狗打车分别以5.5%和3.2%排在二、三位。
一味追求野蛮生长的货拉拉,其身上的诸多漏洞和问题也开始慢慢显露出来。
2021年3月,一则“23岁女生在货拉拉车上跳窗身亡”的新闻引起市场关注,并连续多天登上微博热搜。据报道,一位湖南女孩通过货拉拉平台搬家,在搬家途中突然跳车,后送医后抢救无效后去世。
事后,货拉拉很快发出声明承认,在搬家业务上缺少安全防护措施,并且公布了一系列整改措施,比如在车内安装了录音和录像等硬件,来保证消费者搬家跟车过程的安全。
但就在三个月后,一位杭州的女性用户同样在搬家跟车过程中跳车,致使全身大面积擦伤和左胳膊骨折。而事件起因,则是因为司机在途中多次偏航,从而让跟车女性产生害怕和恐惧心理。
除了这些被报道的事件之外,其实货拉拉早已成为C端消费者和平台司机们口诛笔伐的对象。
连线出行通过查看黑猫投诉等第三方平台,可以看到对于货拉拉的投诉几乎是接连不断,其中除了消费者对于丢件不赔偿、客服态度差等投诉之外,更多是平台司机对于货拉拉的诸多投诉。

针对货拉拉的诸多投诉,截图自黑猫投诉官网
在这些恶性事件和投诉出现后,彻底把货拉拉在司机审核和业务管理方面的漏洞摆在了公众面前。随之出现的现象——消费者逐渐不使用货拉拉的同时,司机们也开始抛弃货拉拉。
据刘明对连线出行表示,目前在北京、天津等地的货拉拉司机们,已经开始大量向快狗打车等平台转移;而没有转移的司机们,也不太愿意接货拉拉的运单,转而选择接快狗打车等平台的运单赚钱。
来自消费者端的订单和来自司机端的会员费、抽佣,一直都是货拉拉的主要营收来源,但随着消费者和司机的流失,再加上疫情的不利影响,货拉拉逐渐感受到了压力。
虽然货拉拉还未披露任何业绩数据,但从快狗打车招股书也可以看出,行业头部玩家的日子并不好过。从2018-2021四年中,快狗打车不仅一直处于亏损之中,同时净亏损还处于逐年扩大的颓势之中。
2020年2月,周胜馥接受媒体采访时也坦承货拉拉遇到了亏损困境,“受疫情影响,货拉拉的订单量目前大概恢复了20%,今年2月份亏损1个亿元,为成立以来史上最高。”
如果结合货拉拉在今年6月推出多因素订单等操作,在业内看来,遭遇资金压力和面对司机、消费者逃离的货拉拉,只好推出一些压低司机收入和拖欠司机订单费用的措施,让更多的现金流装进自身的腰包中,以便缓解目前的困境。
但与此同时,也让货拉拉走进了一个更大的恶性循环中,其之后的发展也陷入一阵迷雾之中。
货拉拉还有出路吗?
货拉拉一直在找出路。
面对国内竞争激烈的同城货运市场,货拉拉为了保证自身的增长,很早就把触手伸向了海外市场。早在2014年,其就向东南亚市场进军,相继在新加坡、曼谷、芭提雅、马尼拉、胡志明等城市落地业务。
2019年,货拉拉再次宣布在巴西的里约和印度的金奈两大城市落地;而到了2020年,货拉拉又表示,会在美国达拉斯福特沃斯地区推出相关服务,并与当地物流服务商合作。
就在货拉拉布局海外市场的同时,在国内市场中相继传出了其上市的传言。先是在去年6月,彭博社曝出货拉拉已经秘密提交了IPO申请文件,计划在美股上市。对此货拉拉回应道“没有具体上市计划和上市时间表”。
一个月后,腾讯新闻又曝出货拉拉考虑调整上市地点,从美国转移到中国香港,以避免较长时间的IPO推迟。与此前一样,货拉拉依旧表示没有上市计划。而到了去年10月,货拉拉又被曝出即将开启港股上市申请,但截至目前没有任何新的消息。
“对于货拉拉来说,上市是必走的一步。因为从整个行业来看,盈利难是公认的问题,上市融资可以在一定程度上缓解资金压力。在这样的背景下,快狗打车和满帮等玩家均已上市,货拉拉的上市只是时间问题。”同城货运行业资深专家孙明翰对连线出行表示。
除了拓展业务版图和需求上市融资之外,货拉拉也把目光盯向了造车领域。
去年5月,据猎云网报道,货拉拉内部启动了造车项目,计划通过向新能源造车领域布局,实现物流链条闭环和车的“数智化”。为此,货拉拉在一些招聘网站上发布了新能源造车方面的职位招聘需求。
面对这一传言,货拉拉彼时没有做出否认,只是表示“会持续招揽和储备人才,但对于造车一事,暂无可对外披露的信息。”
而到了今年7月,重庆高新技术产业开发区管理委员会发布消息称,货拉拉以总投资105亿元拟在重庆高新区直管园范围内设立汽车中国总部,布局建设包括整车研究院、智能网联中心、供应链及大制造协同中心等。由此在业内看来,货拉拉入局新能源造车领域,已是板上钉钉。
虽然货拉拉布局了以上这些“出路”,但想要改善其自身的困境,并不容易。
首先是海外业务这块,由于海外版货拉拉做的依旧是撮合司机端和用户端的生意,整体业务逻辑没有改变,有可能会出现司机端与平台端的矛盾。此外,货拉拉还会遇到Flexport、Inteluck等海外物流货运企业的竞争。
海外业务无法提供助力的同时,即便货拉拉未来能上市,能给它带去的利好也是微乎其微。
这点可从快狗打车的上市看出一些端倪。今年6月24日快狗打车正式在港股上市,成为“同城货运第一股”。但在当日收盘时其股价为16.7港元/股,较发行价21.5港元/股下跌22.2%。
半年之后,快狗打车的股价还在下滑。截至发稿前,其股价仅有4.96港元/股,相比于上市首日的股价下滑了70.3%;市值达到了30.53亿港元,相比于上市当日的103亿港元,也蒸发了72.47亿港元。
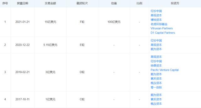
再看到货拉拉方面,虽然其还未上市,但从融资历程方面也能看到资本市场对其不太看好的态度。根据天眼查数据显示,货拉拉距离最近的一次融资还在去年1月,其在当时完成了一笔价值15亿美元的融资,自此之后截至目前货拉拉再无进行任何融资。

货拉拉往期融资经历,截图自天眼查
在江西新能源科技职业学院新能源汽车技术研究院院长张翔看来,因为同城货运行业存在用户基数较少、投资回报率低和盈利周期长等特点,因此资本市场对货拉拉、快狗打车等平台的投资会比较谨慎,货拉拉能否实现上市,依然是一个未知数。
而在造车方面,对于货拉拉本身就是跨界,这就意味着车辆产品或许很难在短期内落地量产,其次要支撑造车业务,势必会对货拉拉本就不多的资金储备造成一定压力。
除了以上三个“出路”难以走通之外,同城货运行业本身合规和盈利的平衡性问题,成为悬在货拉拉头顶上的达摩克利斯之剑。
从市场份额看,货拉拉已经成为了同城货运行业的“一哥”,但它对于行业的覆盖其实只占到了很小的一部分。据弗若斯特沙利文的数据,2021年国内同城物流的市场规模约为1.3万亿元,其中货拉拉占据450亿元,仅仅是整个市场的3.5%。
这就意味着,虽然货拉拉经过前些年的布局,看似解决了货运市场供给需求、价格透明化和行业效率低下等问题,但事实是同城货运这个行业远远没有达到标准化,以至于引得国家相关部门多次对货拉拉在内的同城货运平台约谈和点名,以纠正行业的乱象。
最近的一次,是在上月19日,交通运输新业态协同监管部际联席会议办公室对货拉拉公司进行约谈。约谈指出,货拉拉公司采用一口价订单、上线“特惠顺路”产品等方式恶意压低运价,严重损害货车司机合法权益,扰乱市场公平竞争秩序,各方反映强烈。
孙明翰表示,要实现行业标准化的前提,就需要解决好司机有效监管、业务合规发展和实现盈利之间的平衡。但想要实现这些方面的动态平衡,考量着每个同城货运平台玩家的运营能力,以及得失的取舍。这个道理不仅适用于货拉拉,对于行业其他玩家同样适用。
在连线出行看来,货拉拉在四处找寻其他出路的同时,当务之急还是要通过协商和服务,维护好与运力提供方司机们、货运需求方消费者的关系。
即便对于已是行业第一的货拉拉来说,如果缺少了司机们和消费者的支持,就好比鱼缺少了水,在同城货运这个日渐激烈的战场上只会活得越来越困难。
(文中陈兵、刘明和孙涛为化名。)
创业项目群,学习操作 18个小项目,添加 微信:923199819 备注:小项目!
如若转载,请注明出处:https://www.zodoho.com/85924.html
