威廉逊(Williamson)功率放大器是 20 世纪 80 年代英国人 D . T . N . Williamson创造性设计的一种失真度小于0.5%的电子管功放电路,曾在欧洲风行一时。至今很多名牌机仍沿用这一电路。该电路是典型的 AB 类高保真电子管功放,其高保真的奥秘是将高性能的束射四极管 KT66 改为三极管接法。 KT66为英国型号,美国型号为 6L6,国产型号为 6P3P ,三者性能基本相同。该功放共有四级放大,并对高频段进行阶梯补偿;低频段进行参差补偿,使整机的频率响应为5Hz-70kHz,较为平坦,电性能卓越,成为名副其实的高品质功放。
威廉逊功放电路原图发表在英国“无线电世界” ( Wireless World )杂志上,现以原图为蓝本进行介绍。

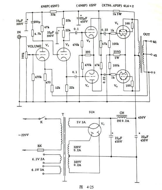
电路简介
1.输入级与倒相级:该级由V1与V2管担任,采用高屏压中放大系数双三极管6SN7(6N8P),该管具有线性好、噪声低的特点。V1为输入管,V2为倒相管,两管采用直接耦合方式。这样既减少了信号传输时的频率失真与相位失真,同时也能提高输入阻抗,扩大动态范围与提高瞬态响应。V1管阴极还增加了较深的电流负反馈,这样对加强输入级的稳定性能极为有利。
V2为倒相管,电路为屏阴分割式倒相电路。该电路利用电子管工作时屏极与阴极的输出电压相位来实现倒相。该电路的屏极与阴极均接入22kΩ电阻,因其负载阻抗相等,流过屏极与阴极的电流也相等,故V2的屏极与阴极的输出幅度相等、相位相反的信号电压,为推 动极和末级提供了倒相信号。
2.推动放大级:仍采用高屏压中放大系数双三极管6SN7(6N8P)担任。经多倒相后的信号由电容耦合至推动管V3与 V4 的栅极。对推动级的基本要求是频响宽、失真小,能输出足够的推动电压。V3与 V4两管的屏极电压均在 200V左右,屏至屏输出的推动电压达 70V。为了拓宽频响,提高保真度,推动放大管的阴极仍加了较深的电流负反馈。
3.功率放大级:推挽功放由一对高性能的束射四极管 KT66、6P3P 、 6L6担任。由前级输出的推动电压信号,输入到V5与V6管的栅极,由功放管V5与V6进行推挽放大,通过输出变压器耦合给喇叭放音。功放管栅极负压的供给采用自偏压方式,这样不但装置方便,而且也无需调试。
威廉逊功放最大的创举是将束射四极管改为三极管接法,其优点是屏极输出的电压全部反馈到帘栅极,因为是深度的帘栅极反馈,深度的负反馈虽然输出功率有所降低,但却大大降低了输出阻抗,放大器的各项电性能均得到了较完美的改善。
V5、V6功放管帘栅极与屏极间串入的 100Ω电阻,这主要因为 KT66 、 6P3P 、 6L6均为高性能、高互导束射四极管,为了防止功放级产生高频寄生振荡而设置的。
功放级如采用原来束射四极管接法时,其功放管屏至屏的负载阻抗为 6 000 – 8000Ω;而威廉逊放大器将该管改为三极接法,因此功放级屏至屏的负载阻抗大为降低,仅为 2 500-4000Ω,这样对制作高保真的输出变压器带来了极为有利的条件。威廉逊功放电路设计虽然出色,但末级推挽输出变压器在电路中起着举足轻重的重要作用。因此自制能否成功,输出变压器至为关键。
4.电源供给:该机的高压整流部分采用 5U4 电子管担任。
本机的高压滤波装置采用了阻流线圈,经 n 型滤波网络后得到平稳的高压,这对降低电流内阻,提高直流高压的效率起到了积极的作用。如果采用两节扼流圈的双π滤波电路,电源质量会更好。
创业项目群,学习操作 18个小项目,添加 微信:923199819 备注:小项目!
如若转载,请注明出处:https://www.zodoho.com/91655.html
